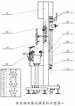
該灌裝機器是一種全自動活塞式灌裝機械,該機械采用通過氣缸的上下運動同時帶動相應料缸內的活塞作往復運動,從而使料缸前腔產生負壓
產品名稱:全自動直線式液體灌裝機
產品型號:RG6T-6G
產品簡介:
全自動直線式液體灌裝機是一種全自動活塞式灌裝機械,該機械采用通過氣缸的上下運動同時帶動相應料缸內的活塞作往復運動,從而使料缸前腔產生負壓,并以信號閥控制氣缸的行程,即可調節灌裝量,從而達到精確的灌裝效果。該全自動液體灌裝機是建立在參考國外同類產品的基礎上進行了重新設計,并增加了部分附加功能。使產品在使用操作、凈度誤差、裝機調整、設備清洗、維護保養等方面更加簡單方便。
適用范圍:
全自動直線式液體灌裝機操作簡單,使用方便,被廣泛適用于食品,醫藥,化工,日化,酒水,食用油等行業的不同粘度的液體進行自動化灌裝。
全自動直線式灌裝機主要適用在洗液、護理液、口服 液、護膚液、消毒液、粉底液、防凍液、洗發液、護發液、洗手液、洗眼液、營養液、注射液、農藥、醫藥、洗潔凈、沐浴露、香水、食用油灌裝機、牛奶、果汁、飲料、潤滑油及特殊行業的液體灌裝。
產品特點:
A、該液體灌裝機在參考國外同類產品的基礎上進行改良設計,并增加了部分附加功能。
B、使產品在使用操作、精度誤差、裝機調整、設備 清洗、維護保養等方面更加簡單方便。
C、該機設計緊湊合理、外形簡潔美觀,灌裝量調節方便。
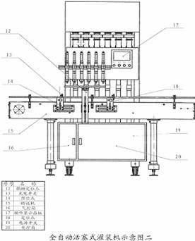
D、該機有六個灌裝頭,由六個氣缸驅動、灌裝物料更加快速精確。
E、采用德國FESTO、臺灣AirTac的氣動組件和臺灣臺達的電控部件,性能穩定。
F、物料接觸部分均采用316L不銹鋼材料制成。
G、灌裝機采用韓國光眼裝置,臺灣PLC、觸摸屏、變頻器及法國電器元件。
H、調節便利、無瓶不灌裝、灌裝量準確并具有計數功能。
I、采用防滴漏與拉絲的灌裝悶頭、防高泡產品的灌裝升降系統、確保瓶口定位的定位系統和液位控制系統。
設備平面解析:

技術參數:
灌裝頭數 | 6頭型 |
電流 | 3A |
電源 | 220/110V 50/60Hz |
功率 | 500W |
氣壓 | 0.4-0.6MPa |
灌裝精度 | ≦±1﹪ |
灌裝速度 | 60-100瓶/分 |
可選機型 | 5-60ml 10-125ml 25-250ml 50-500ml 100-1000ml 250-2500ml 500-5000ml |
全自動直線式液體灌裝機安裝調試
1、安置:選擇室內平整干燥的地方,平穩安置開箱后的主機和輸送臺。主機在輸送臺的里側,使灌裝頭垂直在輸送臺中央的正上方。
2、安裝輸送器:將輸送帶底腳、立柱安裝穩定,底腳螺栓可稍調高低。檢查輸送鏈板松緊合適,接通電源(典源線插頭載主電源箱后背),輸送帶應轉動平穩,調速有效。
3、配置電源:本設備采用電壓220V單相三線制電源,電流3A。用戶在接入電源時必須要有可靠的接地,以保證人身安全。
4、配置氣源:本設備采用的氣源為0.4-0.6MPa,用戶配置的氣源藥穩定,保證氣缸動作的均勻性,以達到精確的灌裝效果。
5、安裝光眼:按照輸送臺上安裝位置將光眼固定,每一組的對射位要準確,達到準確的計數效果。
6、開機:按照以上的操縱安裝完畢之后就可以按照設備的使用操作說明以及機械制造公司對于客戶企業操作人員的培訓,進行開機試機即可。
設備的具體操作:
1.將被灌的液瓶倒置放在工作籃上,檢查液瓶下口應對齊。
2.將真空籃放在真空灌中,蓋好快開罐蓋并鎖緊。
3.關閉放空閥門、進液閥、開啟真空泵,調節真空調接閥使真空度(試灌裝量而定)達到工藝要求、踩下腳踏板使被灌的液瓶下口插液體。
4.緩慢開啟進液閥門,這時灌內液位升高,同時開啟放空閥門,使液位保持在視鏡規定的液位之間。
5.當真空表指針處于0狀態時,證明灌液以完畢,退回腳塌板,可打開快開罐蓋取出也灌滿的液瓶。
6.真空汞的故障排除見(XD系列但旋片式真空泵使用說明書),真空泵長期不用(超過七天),應將汞內也用過的機油放凈,并用新機油沖洗、換新,一防油中水份腐蝕泵體。
全自動直線式液體灌裝機相關細節:

全自動直線式液體灌裝機灌裝頭細節展示(8頭)

全自動直線式液體灌裝機灌裝頭細節展示(6頭)
設備灌裝速度的調整:
1、松開節流閥一、節流閥二的調節螺母。
2、順時針轉動設備上方節流閥手柄,氣缸前行速度放慢,出料速度也放慢。
3、逆時針轉動設備上方節流閥手柄,氣缸前行速度加快,出料速度也加快。
4、順時針轉動設備下方節流閥手柄。氣缸后退速度放慢,吸料速度也放慢。
5、逆時針轉動設備下方節流閥手柄,氣缸后退速度加快,吸料速度也加快。
維護和保養:
1、經常保持設備的清潔,特別對電盤上的電器,要防潮、防塵,禁止隨意對變頻器和程序控制器變更程序。
2、電源電壓要穩定,不可超過±15%,物料溫度應保持在10℃~40℃,環境溫度應保持在5℃~40℃,溫度應保持在5~95%PH。
3、本機使用的流量計為精密儀器,因此,油品必須經過精密過濾后才可以進行灌裝。
4、沒辦工作完畢后應關閉電源和進油閥門。
5、注意爆出紅外線傳感器的干凈,經常用清潔棉花擦拭干凈,嚴禁任何物體在工作過程中靠近傳感器,不可有較強光線直射或反射到傳感器上,否則會繁盛誤動作。
6、定期對氣動三聯體添加氣缸潤滑油。
7、長期不使用本機時,應把各部分擦拭干凈,并用塑料或篷布覆蓋防塵。
全自動直線式液體灌裝機灌裝中細節展示在生產線中的使用及相關配件:

全自動直線式液體灌裝機灌裝生產中細節展示

全自動直線式液體灌裝機儲料缸

全自動直線式液體灌裝機氣缸
常見問題的處理方式:
、設備氣缸活塞不運作了怎么辦?
1.確認安全急停開關是否安全
2.確認氣源開關是否打開
3.確認單向信號閥有無損壞
第二、設備氣缸活塞推到后不返回怎么處理?
確認移動靶是否與單向閥接觸
第三、設備的灌裝量不準確或者不出料怎么調整?
1.確認上下節流閥有無關閉
2.增大氣缸節流閥抽料速度
3.確認快裝三通有無用卡箍鎖死
4.確認儲料箱是否有足夠的物料
5.確認個管連接處是否密封
第四、設備的物料從料缸后端流出怎么辦?
1.檢查活塞上的密封圈是否磨損,若磨損要更換
2.確認活塞與活塞桿是否緊固
全自動直線式液體灌裝機灌裝效果:

全自動直線式液體灌裝機灌裝紅酒效果展示(酒水)

全自動直線式液體灌裝機灌裝飲料、牛奶效果展示(食品飲料)

全自動直線式液體灌裝機灌裝洗衣液效果展示(日化)
